纤维水泥压力板楼板施工工艺-服务周到一用即爱[鲁科重工]
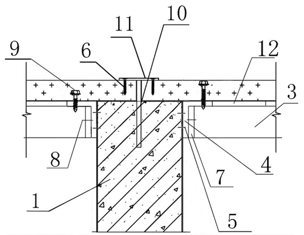
纤维水泥压力板楼板施工工艺孔洞。指混凝土结构内部有尺寸较大的空隙局部,而且有蜂窝状出现,局部的钢筋也裸露在外。其产生的原因。在钢筋较密的部位或预留洞和埋设件处,纤维水泥压力板楼板施工工艺下料被搁隹,末振捣就继续浇筑上层混凝土。混凝土离折,砂浆分离、石子成堆、严重跑浆,又末进行振捣。混凝土内掉入工具、木块、泥块等杂物,混凝土被卡住。
纤维水泥压力板楼板施工工艺优势
纤维水泥压力板楼板施工工艺孔洞防治。混凝土分层均匀振捣密实,并用木锤敲打模板外侧使气泡排出为止。砂石中混有粘土块、模板工具等杂物掉入混凝土内,应及时清理干净纤维水泥压力板楼板施工工艺。砼板表面标高防治。砼收面时拉线抄平。

纤维水泥压力板楼板施工工艺卖点
纤维水泥压力板楼板施工工艺控制终砼用量,多退少补,多余砼及时清理。砼表面标高超高处理方法。标高超高部位砼,拉线抄平,剔凿多余砼至标准标高处,纤维水泥压力板楼板施工工艺用压力水冲洗干净,刷素水泥浆一道,采用高一标号砼配合比水泥砂浆收面找平。

纤维水泥压力板楼板施工工艺服务

纤维水泥压力板楼板施工工艺设计
025-52771085
17798528808
相关资讯
/RECOMMEND
-
●
充填工业泵-1000米快速充填,60m³/h快速省人工[澳门精准24码]
2025/12/29 -
●
煤泥压滤机-双开压滤高干出料,连续作业出煤成饼[澳门精准24码]
2025/12/24 -
●
矿山压滤机-煤安厂家直发,安全易操作[澳门精准24码]
2025/12/22 -
●
煤泥压滤机设备-双开压滤连续脱水,1小时30方起[澳门精准24码]
2025/12/19 -
●
煤泥脱水压滤机-脱水量30m³/h,快速脱水省人工[澳门精准24码]
2025/12/17 -
●
小型煤泥压滤机-双开压滤连续作业,煤泥快速脱水30m³/h[澳门精准24码]
2025/12/15 -
●
矿用充填设备-1000米管道快速充填,防漏水、漏浆节能又环保[澳门精准24码]
2025/12/12 -
●
泥浆充填泵-2000米快速充填,减少输送省人工[澳门精准24码]
2025/12/10 -
●
矿井充填泵-全防爆型带煤安证,1000米输送解决运料难题[澳门精准24码]
2025/12/08 -
●
矿用充填泵-全防爆型煤安认证,井下1000米快速充填更放心[澳门精准24码]
2025/12/05 -
●
充填泵-1000米快速充填,机械化施工更轻松[澳门精准24码]
2025/12/01 -
●
矸石充填泵-千米快捷泵送,矸石零排绿色开采新方案[澳门精准24码]
2025/11/28 -
●
防爆矿用混凝土泵-深度防爆煤安认证,井下施工安全有保障![澳门精准24码]
2025/11/21 -
●
矿用搅拌机-MA煤安认证+全防爆,1小时搅拌8-20方[澳门精准24码]
2025/11/19 -
●
矿山脱水机-高频振动脱水,高产量55m³/h[澳门精准24码]
2025/11/17 -
●
煤矿充填泵-千米快捷输送与全防爆设计,实现安全效益双提升![澳门精准24码]
2025/11/14 -
●
矿用混凝土输送泵-狭窄空间快捷支护,高耐磨管道1000米长距离输送[澳门精准24码]
2025/11/12 -
●
矿用充填泵-1000米安全输送,减少井下作业风险[澳门精准24码]
2025/11/10 -
●
煤矿用充填泵-千米快捷充填,重塑煤矿井下物料运输新标准![澳门精准24码]
2025/11/07 -
●
混凝土充填泵-井下1000米快速充填,效率10倍提升[澳门精准24码]
2025/11/05
共有0条评论
-
更多评论+

矿用压滤机
矿用混凝土泵车
履带式远程湿喷机




